University Scientists Receive a Patent for Biogas Purification Device
Researchers of the Belgorod State Technological University named after V.G. Shukhov created a useful model, which refers to devices for separating gases by absorption and is designed to clean biogas from carbon dioxide.
The device for purification of biogas was developed by the staff of the Department of Heat and Gas Supply and Ventilation within the framework of the project "Development of Equipment and Improvement of the Efficiency of Gas Supply Systems Using Biogas". Associate Professor of the Department of Heat and Gas Supply and Ventilation Denis Suslov has been working on the project for over 7 years, and Associate Professor Artem Seminenko took part in the project as a specialist in the field of technical thermodynamics.
Also, Dmitry Temnikov, a postgraduate student of the Department of Heat and Gas Supply and Ventilation, is working on the creation of a useful device. The result of the joint work done is patent No. 201895 for the useful model "Device for biogas purification".
Disadvantages of already developed devices.
The disadvantage of the already known devices is the low stability of the composition of the purified biogas in terms of methane number, due to the variable composition of the original biogas and the constant degree of purification of the device. Innovation of the created model.
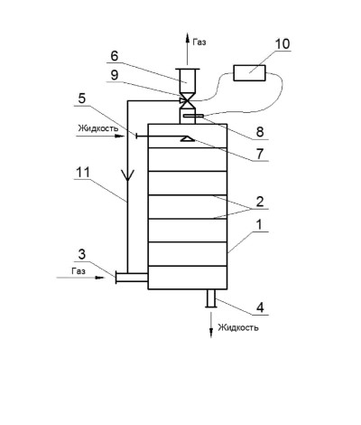
The utility model is aimed at increasing the stability of the composition of the purified biogas in terms of methane number by controlling the methane content and providing additional purification of biogas. This is achieved by the fact that the developed device for biogas purification contains a new technical solution. According to which the gas outlet is equipped with a methane content sensor connected through a controller with a three-way valve. In this case, the three-way valve is connected by a return pipeline with the gas supply pipe. This eliminates the supply of gas to consumers with low methane content. The combination of these design features provides control and, if necessary, the direction of the gas flow for re-cleaning. Accordingly, this is what makes it possible to increase the stability of the composition of the purified biogas in terms of methane number. How the device works The initial biogas enters the main body through the gas inlet. The liquid enters the liquid inlet and then flows from the liquid distributor onto the trays. Biogas, passing into the upper part of the casing, comes into contact with the liquid flowing down the trays. When biogas comes into contact with a liquid, biogas is purified due to the reaction of absorption of carbon dioxide by the flowing liquid. The purified biogas enters the gas outlet, where the methane concentration is continuously analyzed using a methane content sensor.
When the methane content is below the required standards, biogas is directed through the return pipeline to the gas supply pipe.
There it is mixed with the original biogas and fed to the repeated cleaning cycle according to the algorithm described above. When the methane content meets the required standards, biogas is sent to consumers. These can be boiler houses and cogeneration plants, as well as gas networks. The use of a methane content sensor, controller, three-way valve and a return pipeline in the new model of a biogas purification device eliminates gas supply to consumers with a low methane content. Thus, the proposed device makes it possible to increase the stability of the composition of the purified biogas in terms of methane number.

